Мы используем cookie для наилучшего представления нашего сайта. Подробнее об этом в Политике конфиденциальности.
Ок

Махачкала

Ваш город:
Махачкала (Республика Дагестан)?
Нет
Да
Каталог
Каталог Написать в WhatsApp
Мотоэкипировка

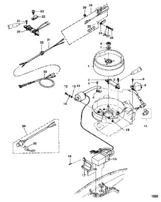
Магнето и компоненты зажигания 2-Х ТАКТНОГО ПЛМ MERCURY 4 M Серийный номер от 0G710613 до 0T894438

Магнето и компоненты зажигания 2-Х ТАКТНОГО ПЛМ MERCURY 4 M Серийный номер от 0G710613 до 0T894438 в Махачкале: актуальный каталог, цены, фото, описание. Купите магнето и компоненты зажигания 2-х тактного плм mercury 4 m серийный номер от 0g710613 до 0t894438 в кредит – оформите заявку онлайн за 1 минуту!

Оригинальные запчасти

Артикул НАИМЕНОВАНИЕ Кол-во деталей в узле Примечание Наличие Цена Аналоги Фото
1 8M0110989 FLYWHEEL

Под заказ

N/A

Под заказ

уточнить

Купить
2 16058T Катушка (EXCITER COIL)

Под заказ

N/A

Под заказ

уточнить

Купить
3 16259 Уплотнительное кольцо ("O" RING, FLOAT BOWL)

Под заказ

N/A

Под заказ

уточнить

Купить
4 16071 NUT, FLYWHEEL

Под заказ

N/A

Под заказ

уточнить

Купить
5 16072 WASHER, FLYWHEEL

Под заказ

N/A

Под заказ

уточнить

Купить
6 160661 Датчик угла зажигания (PULSER COIL)

Под заказ

N/A

Под заказ

уточнить

Купить
7 815113T02 Катушка зажигания (IGNITION COIL)

Под заказ

N/A

Под заказ

уточнить

Купить
8 855543 Надсвечник (BOOT)

Под заказ

N/A

Под заказ

уточнить

Купить
9 167051 Болт (BOLT)

Под заказ

N/A

Под заказ

уточнить

Купить
10 16818 LOCKWASHER

Под заказ

N/A

Под заказ

уточнить

Купить
11 809931044 WASHER

Под заказ

N/A

Под заказ

уточнить

Купить
12 16068 GROMMET, PULSER COIL

Под заказ

N/A

Под заказ

уточнить

Купить
13 16061T04 Коммутатор 4-5 2-х тактные (C.D. UNIT)

Под заказ

N/A

Под заказ

уточнить

Купить
14 878061 FRONT DAMPER

Под заказ

N/A

Под заказ

уточнить

Купить
15 878062 DAMPER (Rear)

Под заказ

N/A

Под заказ

уточнить

Купить
16 815026 Шплинт (PIN-COTTER @5)

Под заказ

N/A

Под заказ

уточнить

Купить
17 16074T Зарядная катушка (ALTERNATOR)

Под заказ

N/A

Под заказ

уточнить

Купить
18 16060 CLAMP, ALTERNATOR

Под заказ

N/A

Под заказ

уточнить

Купить
19 16076A1 Выпрямитель (RECTIFIER KIT)

Под заказ

N/A

Под заказ

уточнить

Купить
20 16077 FUSE

Под заказ

N/A

Под заказ

уточнить

Купить
21 16078 SCREW, RECTIFIER

Под заказ

N/A

Под заказ

уточнить

Купить
22 16080 WASHER, RECTIFIER SCREW

Под заказ

N/A

Под заказ

уточнить

Купить
23 813275 CLAMP, RECTIFIER (SAIL POWER)

Под заказ

N/A

Под заказ

уточнить

Купить
24 16822 BATTERY CABLE

Под заказ

N/A

Под заказ

уточнить

Купить
25 16823 Уплотнитель (GROMMET)

Под заказ

N/A

Под заказ

уточнить

Купить
26 16082 EXTENSION HARNESS

Под заказ

N/A

Под заказ

уточнить

Купить
27 823037A04 Стоп-кнопка на румпель (SWITCH KIT-STOP)

Под заказ

N/A

Под заказ

уточнить

Купить
28 823054 Стропка (LANYARD ASSY)

Под заказ

N/A

Под заказ

уточнить

Купить

Нулевая цена не означает отсутствие товара. Оформите заказ, и менеджер сообщит вам цену и наличие товара, предварительно запросив их у поставщика

Главная Магазины
Корзина0
Профиль